日前,劳斯莱斯全新纯电SUV谍照曝光,新车有着劳斯莱斯经典的复古设计,最令人印象深刻的是,它还会采用复古的分体式发动机盖,此前已有专利申报向我们展示了它的开启方式。友情提示:如果您有新车谍照/新车爆料,请点击编辑头像(仅限App)私信给我们。


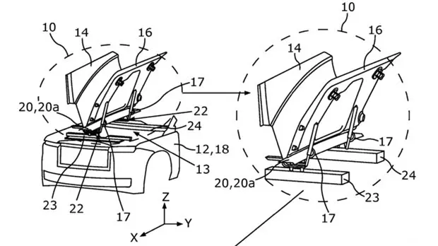
外观方面,飞天女神立标就设置在脊线前端,支持伸缩收纳,脊线两侧是两块独立的可抬起面板,开启方式类似后备箱盖,向上掀开露出内部结构,发动机盖前部可见铰链结构,进一步坐实了分体式开启的设计逻辑。除了标志性的发动机盖,新车外观大部分设计延续了现款库里南的风格,采用全封闭式格栅搭配顶部摄像头,契合电动车型的设计趋势。分体式灯组辨识度拉满,下部大灯带有专属“RR”标识,前包围采用宽大的进气口。

车身侧面,保留了库里南标志性的硬朗肩线、直板车身、宽厚后立柱,车顶轮廓也高度相似。车尾则针对电动化做出专属调整,不再有排气口,牌照安装位从尾门移至保险杠,这是与燃油版库里南最直观的区别。

动力方面,参考闪灵的成熟电动化技术,大概率搭载双电机四驱系统,最大功率585马力,最大扭矩900牛·米,WLTC工况续航530km,未来还可能推出Black Badge高性能版本,最大功率提升至659马力,最大扭矩1075牛·米。(AI编译/汽车之家 秦超)